网站被广东IP刷了一个多月了 大家有什么办法么?

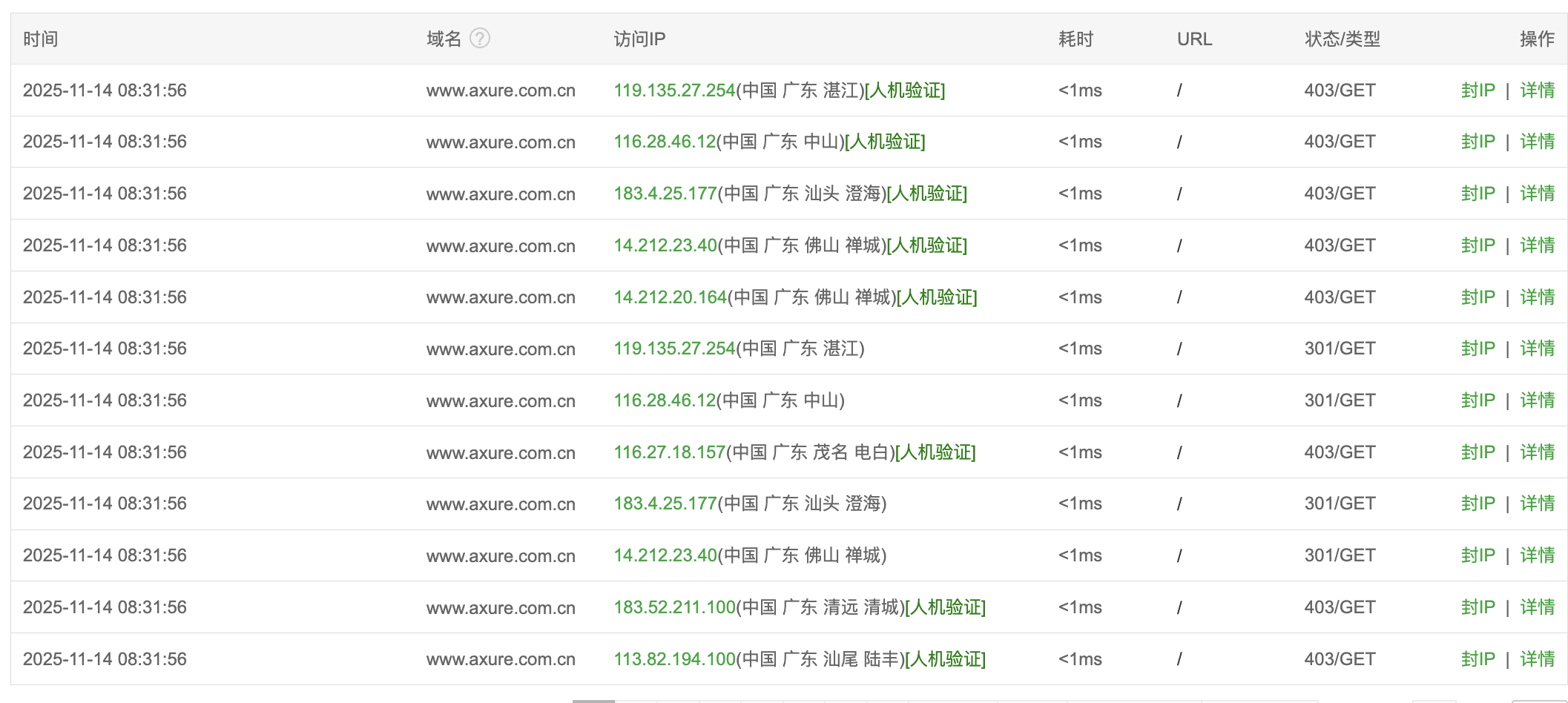
网站被刷一个多月了 这几天增加到8万多IP每天。
只好开人机验证 虽然能防住,但降低了真实用户的访问体验。
佬友们有什么办法吗?

全是广东电信的IP

查了一下。
原因是一些视频平台偷偷把用户当pcdn,自动访问一些网站平衡上传下载量,怕被运营商查出来。
最近广东那边查得严格,所以IP都是广东的。去年有一次山西的IP,很多网站也中过招。

哎!

都给屏蔽了。

每天不重样 屏蔽不完的

我也有个站,人没几个,但每天固定几千邮件屋-邮箱论坛-大中华区电子邮箱交流社区 - Powered by Discuz!

屏蔽一个地区的ip呢?